大家都知道三極管是電流控制型元件,三極管工作在放大狀態下存在Ic=βIb的關系,怎么理解三極管的放大模型呢?這兒我們拋開三極管內部空穴和電子的運動,還是那句話只談應用不談原理,希望通過下面的“圖解”讓初學者對三極管有一個形象的認識。
三極管是一個以b(基極)電流Ib 來驅動流過CE 的電流Ic 的器件,它的工作原理很像一個可控制的閥門。


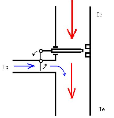
圖1
左邊細管子里藍色的小水流沖動杠桿使大水管的閥門開大,就可允許較大紅色的水流通過這個閥門。當藍色水流越大,也就使大管中紅色的水流更大。如果放大倍數是100,那么當藍色小水流為1 千克/小時,那么就允許大管子流過100千克/小時的水。三極管的原理也跟這個一樣,放大倍數為100 時,當Ib(基極電流)為1mA 時,就允許100mA 的電流通過Ice。
有了這個形象的解釋之后,我們再來看一個單片機里常用的電路。


圖2
我們來分析一下這個電路,如果它的放大倍數是100,基極電壓我們不計。基極電流就是10V&pide;10K=1mA,集電極電流就應該是100mA。根據歐姆定律,這樣Rc上的電壓就是0.1A×50Ω=5V。那么剩下的5V 就吃在了三極管的C、E 極上了。好!現在我們假如讓Rb 為1K,那么基極電流就是10V&pide;1K=10mA,這樣按照放大倍數100 算,Ic 就是不是就為1000mA 也就是1A 了呢?假如真的為1安,那么Rc 上的電壓為1A×50Ω=50V。啊?50V!都超過電源電壓了,三極管都成發電機了嗎?其實不是這樣的。見下圖:


圖3
我們還是用水管內流水來比喻電流,當這個控制電流為10mA 時使主水管上的閥開大到能流過1A 的電流,但是不是就能有1A 的電流流過呢?不是的,因為上面還有個電阻,它就相當于是個固定開度的閥門,它串在這個主水管的上面,當下面那個可控制的閥開度到大于上面那個固定電阻的開度時,水流就不會再增大而是等于通過上面那個固定閥開度的水流了,因此,下面的三極管再開大開度也沒有用了。因此我們可以計算出那個固定電阻的最大電流10V&pide;50Ω=0.2A也就是200mA。就是說在電路中三極管基極電流增大集電極的電流也增大,當基極電流Ib 增大到2mA 時,集電極電流就增大到了200mA。當基極電流再增大時,集電極電流已不會再增大,就在200mA 不動了。此時上面那個電阻也就是起限流作用了。
上面講的三極管是工作在放大狀態,要想作為開關器件來應用呢?毫無疑問三極管必須進入飽和導通和截止狀態。圖4所示的電路中,我們從Q 的基極注入電流IB,那么將會有電流流入集電極,大小關系為:IC=βIB 。而至于BJT 發射結電壓VBE,我們說這個并不重要,因為只要IB 存在且為正值時,這個結電壓便一定存在并且基本恒定(約0.5~1.2V,一般的管子取0.7V 左右),也就是我們所講的發射結正偏。既然UBE 是固定的,那么,如果BJT 基極驅動信號為電壓信號時,就必須在基極串聯一個限流電阻,如圖5。此時,基極電流為IB=(Ui-UBE)/RB。一般情況省略RB 是不允許的,因為這樣的話IB 將會變得很大,造成前級電路或者是BJT 的損壞。


圖4、圖5
接下來進入我們最關心的問題:RB 如何選取。前面說到過IC=βIB,為了使晶體管進入飽和,我們必須增加IB,從而使IC 增大,RC 上的壓降隨之增大,直到RC 上幾乎承受了所有的電源電壓。此時,UCE 變得很小,約0.2~0.3V(對于大功率BJT,這個值可能達到2~3V),也就是我們所說的飽和壓降UCE(sat)。如果達到飽和時,我們忽略UCE(sat),那么就有ICRL=βIBRL=Vcc。也就是只要保證IB≥IC/β或IB≥Vcc/(βRL)時,晶體管就能進入飽和狀態。我們看這樣一組數據:Vcc=5V,β=200,RL=100Ω。那么要求IB≥5/(200×100)A=0.25mA。如果Ui=5V,那么取RB≤(Ui-UBE)/IB≈(5-0.7)/0.25kΩ=17.2kΩ就能滿足要求了。但是,實際上,對于這種情況,如果取一個10kΩ以上的電阻都可能導致BJT 無法進入飽和狀態。這是為什么呢?
因為我們的器件不是理想的,我們在來看下面一個圖。


這是我們常用的一款小信號BJT,型號為MMBT3904 的直流電壓增益曲線。從圖中可以看出,BJT 的共射極直流電壓增益hFE(也就是通常意義下的β)不僅是溫度的函數,而且與集電極電流有關。在一定的集電極電流范圍內,hFE 基本為常數;當集電極電流大于一定值時,hFE 將急劇下降。產生這一現象的機理我們在這里就不討論了。我們在使用BJT 作為開關時,大多數情況下用于驅動外部負載,如LED、繼電器等,這些負載的電流一般較大,此時hFE 已經下降到遠小于我們計算時使用的那個值。如前面的例子,如果這個BJT 為MMBT3904,集電極電流達到近50mA,此時的β(或hFE)已經下降到只要100 左右了,計算基極電阻時使用的β也應該取100 而不是200。
而實際應用中,IB 并不是越大越好,因為IB 對外電路來說是沒有實質作用的,它僅僅是維持BJT 可靠導通的必要條件。IB 越大,驅動部分的損耗也就越大,從而降低了電路的效率。而且IB越大還會影響三極管的開關速率,這個我們后面再深究。
電子元件基礎之三極管靜態工作點
我們都知道,三極管的工作狀態有三個,截止區,放大區,飽和區。那么三極管工作在什么工作狀態是由什么決定的呢?是由基極電流(Ib)來決定的,和其他因素完全沒有關系。
如果Ib = 0,則三極管工作在截止區。
如果0 < Ib ×β<飽和電流,則三極管工作在放大區。
如果 飽和電流
雖然說三極管的工作狀態是由基極電流決定的,但是能夠影響基極電流的因素就有幾個,其中最重要的就是靜態工作點。
在放大電路中,當有信號輸入時,交流量與直流量共存。那什么是三極管的靜態工作點呢?三極管靜態工作點就是輸入信號為零時,電路處于直流工作狀態,這些電流、電壓的數值可用BJT 特性曲線上一個確定的點表示,該點習慣上稱為靜態工作點Q。用我們的大俗話就是三極管處于靜態工作狀態的時候的基極電流。就是當沒有交流信號輸入到基極的時候,三極管的基極電流。
靜態工作點是怎樣影響三極管的呢? 靜態工作點直接就會影響三極管的基極電流, 從而影響三極管工作在什么區域。 如果靜態工作點靠近飽和區, 那么就很有可能部分的交流信號進入飽和區,沒有進行放大, 造成飽和失真。 如果靜態工作點靠近截止區, 那么也很有可能有部分的交流信號進入截止區, 造成截止失真。
那什么因素會影響靜態工作點呢? 影響靜態工作點的因素有很多, 最突出的兩個就是偏置電阻和溫度。 如果偏置電阻過大, 那么造成基極電流較小, 靜態工作點比較靠近截止區. 如果偏置電阻過小,那么造成基極電流較大, 靜態工作點比較靠近飽和區。 所以偏置電阻的選擇很重要, 另外的一個重要因素是溫度. 大家都知道, 溫度的升高會造成半導體器件的導電性能增強, 對于三極管來講, 就是放大倍數的增加。 所以也就產生了,很多種的抑制靜態工作點漂移的電路了。
電子元件基礎—MOS管
平時在實驗室常用的器件還是三極管相對較多,對MOS管用得甚少,今年寄來了六套STM32 DEMO_V1.2評估板,板子上面就有幾顆MOS管,為了更好認識MOS管,在課本和網上查了許多資料,現在整理出來給大家分享。
由于水平有限在這兒我們只談應用不談原理。我們知道MOS管有P溝道和N溝道之分,給出一個MOS的電路符號,你是怎么判斷它是N溝道,還是P溝道?下面我們就來看圖1這顆MOS管電路符號。


圖1
請問:哪個腳是S(源極)、哪個腳是G(柵極)哪個腳是D(漏極)?D和S,是N溝道還是P溝道MOS?1腳和3腳之間存在一個二極管,這個二極管有什么作用?如果接入電路,一般哪個接輸入哪個接輸出?
MOS三個極怎么判斷


圖2
它們是N溝道還是P溝道


圖3
寄生二極管
在圖1我們看到D極和S極之間存在著一個二極管,這個二極管叫寄生二極管。MOS的寄生二極管怎么來的呢?翻開大學里的模擬電路書里面并沒有寄生二極管的介紹。在網上查了一番資料才知道,它是由生產工藝造成的,大功率MOS管漏極從硅片底部引出,就會有這個寄生二極管。小功率MOS管例如集成芯片中的MOS管是平面結構,漏極引出方向是從硅片的上面也就是與源極等同一方向,沒有這個二極管。模擬電路書里講得就是小功率MOS管的結構,所以沒有這個二極管。但D極和襯底之間都存在寄生二極管,如果是單個晶體管,襯底當然接S極,因此自然在DS之間有二極管。如果在IC里面,N—MOS襯底接最低的電壓,P—MOS襯底接最高電壓,不一定和S極相連,所以DS之間不一定有寄生二極管。那么寄生二極管起什么作用呢?當電路中產生很大的瞬間反向電流時,可以通過這個二極管導出來,不至于擊穿這個MOS管。(起到保護MOS管的作用)
寄生二極管方向判定


圖4
MOS管的應用
開關作用
我們筆記本主板上用得最多的電子器件便是MOS管,可見MOS管在低功耗方面應用得非常廣泛,MOS管都有哪些應用呢?先來看下面的原理圖


圖5
相信你從圖5可以看出MOS管在電路中的作用了吧,以上的MOS開關實現的是信號切換(高低電平的切換),那么MOS在電路中要實現開關作用應該滿足什么條件呢?還有前面提過MOS管接入電路哪個極接輸入哪個極接輸出(提示:寄生二極管是關鍵)?我們先看MOS管做開關時在電路的接法。


圖6
想一想為什么是這樣接呢?反過來接行不行?那是不行的。就拿NMOS管來說S極做輸入D極做輸出,由于寄生二極管直接導通,因此S極電壓可以無條件到D極,MOS管就失去了開關的作用,同理PMOS管反過來接同樣失去了開關作用。接下來談談MOS管的開關條件,我們可以這么記,不論是P溝道還是N溝道,G極電壓都是與S極電壓做比較:
N溝道: UG>US時導通。 (簡單認為)UG=US時截止。
P溝道: UG
但UG比US大(或小)多少伏時MOS管才會飽和導通呢?這要看具體的MOS管,不同的MOS管要求的壓差不同。比如筆記本上用于信號切換的MOS管:N7002,2N7002E,2N7002K,2N7002D,FDV301N等。UG比US大3V---5V即可。
隔離作用
如果我們想實現線路上電流的單向流通,比如只讓電流由A->B,阻止由B->A,請問該怎么做?


但這樣的做法有一個缺點,二極管上會產生一個壓降,損失一些電壓信號。而使用MOS管做隔離,在正向導通時,在控制極加合適的電壓,可以讓MOS管飽和導通,這樣通過電流時幾乎不產生壓降。下面我們來看一個防電源反接電路。


這個電路當電源反接時NMOS管截止,保護了負載。電源正接時由于NMOS管導通壓降比較小,幾乎不損失電壓,比在電源端加保險管再在負載并聯一個二極管的方案好一些。
烜芯微專業制造二極管,三極管,MOS管,橋堆等20年,工廠直銷省20%,1500家電路電器生產企業選用,專業的工程師幫您穩定好每一批產品,如果您有遇到什么需要幫助解決的,可以點擊右邊的工程師,或者點擊銷售經理給您精準的報價以及產品介紹
烜芯微專業制造二極管,三極管,MOS管,橋堆等20年,工廠直銷省20%,1500家電路電器生產企業選用,專業的工程師幫您穩定好每一批產品,如果您有遇到什么需要幫助解決的,可以點擊右邊的工程師,或者點擊銷售經理給您精準的報價以及產品介紹

